外教优化案例
标题:外教招聘_外教老师_英语外教_专业外教机构
描述:ChinaESL(北京唐氏国际文化交流有限公司),是专业一家从事外教招聘、英语外教和外国人才引进的服务机构。公司目前主要为全国各类学校、培训机构提供专业的全职外教和兼职外教,为北京的家庭和个人提供一对一外教家教和住家外教。欢迎咨询我们,期待为您解答。
关键词:外教老师,外教招聘,英语外教,外教,北京外教招聘,北京英语外教,北京外教老师


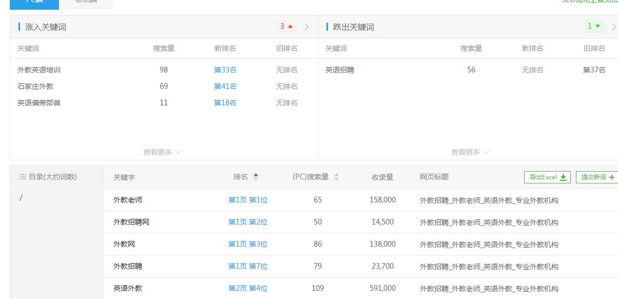
外教优化案例,外教网站一般属于英语培训行业,该行业主要突出的师资力量,可以结合卖点进行关键词定义和优化。
用户1
2022/8/12 10:07:37关键词排名查询:关键词排名消失的原因有哪些